청년·신혼부부의 주거안정 강화를 위해 LH는 2023년 3차 매입임대주택 입주자 모집을 위한 청약 접수를 실시합니다. 3차 매입임대주택 청약에 청약하지 못했더라도 모집공고 기준을 잘 숙지하여 추후 매년 분기별로 모집하는 매입임대주택에 청약해 보시기 바랍니다.

매입임대주택이란? 서울 매입임대주택은 어디?
'매입임대주택'은 LH가 도심 내 신축 및 기존 주택을 매입해 무주택 청년·신혼부부 등에게 시세보다 저렴한 조건으로 임대하는 주택으로 매년 분기별로 입주자를 모집합니다.
3차 입주자 모집규모는 청년 1316 가구, 신혼부부 1728 가구 등 3044 가구이며 지역별로 서울·경기·인천 등 수도권 1495 가구, 그 외 지역이 1549 가구입니다.
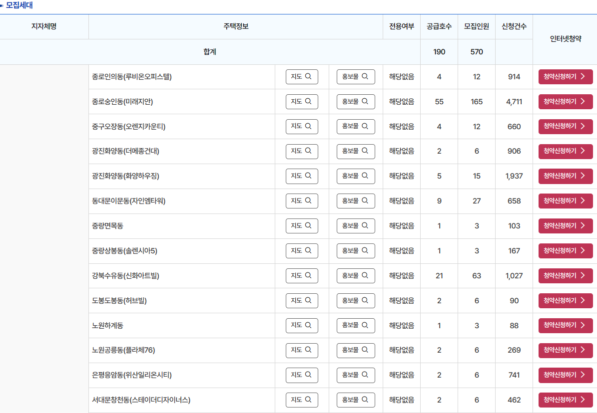
2023 3차 매입임대주택 중 서울지역 매임 임대주택의 위치와 공급호수 청약접수 에 대해 알려드리겠습니다.
23년 3차 매입임대주택 서울지역은 신혼부부 매입임대주택Ⅱ, 청년 매입임대주택, 신혼부부 매입임대주택 Ⅰ으로 나누어 청약 신청을 하고 있습니다.
서울지역 23년 3차 신혼부부 매입임대주택Ⅱ
모집지역 : 서울특별시(강남, 강동, 강북, 강서, 광진, 구로, 도봉, 동대문, 서대문, 성북, 송파, 양천, 영등포, 은평, 중랑)


서울지역 23년 3차 청년 매입임대주택
모집지역 : 서울특별시(강동구, 강북구, 강서구, 관악구, 광진구, 구로구, 금천구, 노원구, 도봉구, 동대문구, 동작구, 서대문구, 양천구, 영등포구, 은평구, 종로구, 중구, 중랑구)


서울지역 23년 3차 신혼부부 매입임대주택 Ⅰ
모집지역 : 서울특별시(강동구, 광진구, 구로구, 동대문구, 송파구, 영등포구, 중랑구)

신혼부부 매입임대주택이란?
신혼부부들이 안정적으로 원하는 생활권에서 거주할 수 있도록 시세보다 저렴하게 주택을 재임대하는 것으로 이번 3차 공고는 LH에서 모집하고 있습니다.
거주기간, 소득기준, 주택유형에 따라 신혼 매입임대주택 신혼부부Ⅰ 과 매입임대주택Ⅱ으로 구분합니다.
신혼 매입임대주택 신혼부부 Ⅰ
| 최장 20년 거주 가능하며 다가구주택등에서 시세 30~40%로 거주할수 있는 임대주택 중위소득 70% 이하 신청가능 (2인가구 대략 400만원/ 3인가구 대략 470만원) 배우자 소득있는 경우 90% 이하 ( 2인가구 대략 500만원/ 3인가구 대략 604만원) |
신혼 매입임대주택 신혼부부 Ⅱ
| 최장 10년 거주 가능하며 아파트/오피스텔 등에서 시세 60~80%로 거주할수 있는 임대주택 중위소득 100% 이하 신청가능 (2인가구 대략 550만원/ 3인가구 대략 671만원) 배우자 소득있는 경우 120% 이하 ( 2인가구 대략 650만원/ 3인가구 대략 806만원) |
청년매입 임대주택이란?
주택공사에서 매입한 주택을 만 19세~39세 청년들에게 인근 시세의 40%~50% 수준으로 저렴하게 임대하는 형태이며
학업·취업 등의 사유로 이주가 잦은 청년층의 수요를 반영해 냉장고, 세탁기, 에어컨 등 가전제품을 갖춘 상태로 공급됩니다.
| 최장 10년 거주가능 초기 보증금 : 100만원 (1순위),200만원(2,3순위) 월 임대료 : 40~50 예상 (지역별로 차이있으며 임대보증금을 10만원 단위로 증액하여 월 임대료 낮출 수 있음) 선정방법 : 순위->배점->추첨방식 |
청년·신혼부부 매입임대주택 청약일정 / 청약바로가기
신청기간 : 10/4(수)~10/6(금) 16시까지 - 청년/신혼부부 공통서류제출 대상자 발표일 : 10/10(화)결과발표 : 11/28일 (회) 5시 이후 ( 입주자격 검증 및 계약 체결을 거쳐 12월 초 이후 입주 가능)청약 바로가기 : LH청약플러스
오늘은 청년·신혼부부의 주거안정 강화를 위한 매입임대주택 청약에 대해 알아보았습니다.
신혼부부 매입임대주택Ⅱ, 청년 매입임대주택, 신혼부부 매입임대주택 Ⅰ의 유형에 따라 조건이 다르기 때문에 첨부되어 있는 모집공고를 꼼꼼히 확인하시어 원하시는 지역에 청약 성공하시길 바랍니다.
혹시 청약하지 못했더라도 매년 분기별로 매입임대주택 청약 공고가 있을 예정이니 유심히 살표보시길 바랍니다.
청년/신혼부부가 행복한 대한민국을 응원합니다.
'부동산에 대하여' 카테고리의 다른 글
| 분양권전매 가능한 단독주택 - 힐스테이트 양주옥정 파티오포레 (0) | 2023.10.19 |
|---|---|
| 검단신도시 롯데캐슬 넥스티엘 분양 (유주택자 청약 가능한 4억원대) (1) | 2023.10.06 |
| 소형주택 주택수 미포함 총정리! (특별공급 가능+세금관계) (0) | 2023.10.04 |
| 서울 마곡 10-2 분양가 3억대 분양신청 모든것/투자가치 - 토지임대부주택 (0) | 2023.09.29 |
| 생활형숙박시설 총정리 2023 정책 반영! (0) | 2023.09.26 |